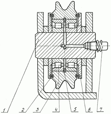
41А.55.14.018А
для 1989 - 1999 г.в.
| Номер |
Наименование |
№ чертежа |
Кол-во |
Вес |
| 1 |
Ось |
41A.55.14.258A |
1 |
0,37 |
| 2 |
Кольцо |
41A.55.14.122А |
2 |
0,03 |
| 3 |
Блок |
41A.55.14.145A |
1 |
2,55 |
| 4 |
Подшипник 12208 |
ГОСТ 8328-75 |
2 |
0,02 |
| 6 |
Шайба |
41A.55.14.124A |
2 |
0,25 |
| 7 |
Пресс-масленка |
086-06.00.0210 |
1 |
0,04 |
|