091-60.28.0151-01
для 2000 - 2006 г.в.
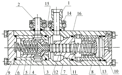
| Номер |
Наименование |
№ чертежа |
Кол-во |
Вес |
| 1 |
Переходник |
091-60.28.1102 |
1 |
0,78 |
| 2 |
Тройник |
091-28.00.1121 |
1 |
2,5 |
| 3 |
Клапан |
091-60.28.1106 |
1 |
0,9 |
| 4 |
Клапан |
091-60.28.1109 |
1 |
0,07 |
| 5 |
Пружина |
091-60.28.1110 |
2 |
0,12 |
| 6 |
Седло |
091-60.28.1111 |
1 |
0,84 |
| 7 |
Корпус |
091-60.28.1152 |
1 |
21,87 |
| 8 |
Втулка |
091-60.28.1153 |
1 |
0,95 |
| 9 |
Крышка |
091-60.28.1154 |
1 |
2,4 |
| 10 |
Крышка |
091-60.28.1155 |
1 |
2,53 |
| 11 |
Корпус |
091-60.28.1156 |
1 |
0,95 |
| 12 |
Золотник |
091-60.28.1157 |
1 |
0,2 |
| 13 |
Золотник |
091-60.28.1158 |
1 |
0,67 |
| 14 |
Кольцо 045-050-30-2-2 |
ГОСТ 9833 |
2 |
0 |
| 15 |
Кольцо 065-070-30-2-2 |
ГОСТ 9833 |
1 |
0 |
| 16 |
Кольцо 060-070-58-2-2 |
ГОСТ 9833 |
4 |
0,01 |
|